• <tt id="qqqqq"><rt id="qqqqq"></rt></tt>
  • <tt id="qqqqq"></tt>
  • <tt id="qqqqq"></tt>
  • <li id="qqqqq"></li>
  • <tt id="qqqqq"><table id="qqqqq"></table></tt>
    <tt id="qqqqq"><table id="qqqqq"></table></tt>
  • 18161221359

    微信

    QQ

    細水霧儲水箱常見故障分析與處理

    2020/7/28 12:50:22 次瀏覽

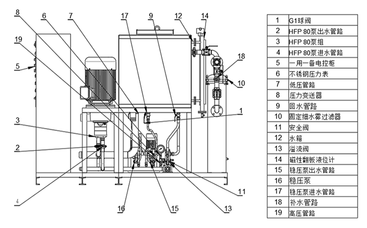
    細水霧滅火系統是由補水組件、儲水箱(含液位儀)、泵組、分區控制閥、聲光報警器、火災探測器、穩壓泵等組合而成,前面我們說了細水霧噴頭、分區控制閥和細水霧泵組的常見問題。下面我們來看看儲水箱遇到以下問題時,我們應該怎么處理呢?


    細水霧組成


     1、貯水箱水質不合格,儲水量不足

    (1)故障原因分析

    ①取水來自生活用水,但時間長水中產生滋生物;

    ②進水閥不能進水;

    ③進水控制閥誤關閉。

    (2)故障處理

    ①水箱由專業廠商直接提供,不得由施工單位現場加工;

    ②在水箱底部設置放空閥;

    ③進水控制閥選擇帶電信號閥。


    細水霧水箱.jpg


    2、調節水箱低液位報警或斷水停泵

    (1)故障原因分析

    ①過濾器進水壓力低;

    ②過濾器濾芯堵塞;

    ③進水電磁閥異物堵塞。

    (2)故障處理

    ①保證進水壓力不低于0.2MPa;

    ②清洗或更換濾芯;③清理進水電磁閥。


    液位計.jpg


    以上便于關于細水霧儲水箱常見故障的解決的方法,希望對大家有幫助,如果還有其他關于細水霧的問題,可以通過官網聯系方式向客服咨詢,也可以關注微信公眾號“scsikuer”進行留言咨詢。


    關鍵詞:細水霧儲水箱常見問題

    熱門文章/ Popular articles

    熱銷產品/ hot-sale products

    18161221359

    客服service

    售前售后全程支持

    斯庫爾微信二維碼

    日本最新免费二区三区在线观看