高壓細水霧滅火系統示例圖
2020/6/17 11:41:25 次瀏覽
所謂的細水霧,就是使用特殊噴嘴,通過高壓噴水產生的水微粒。細水霧在消防方面的應用始于四十年代,當時主要用于運輸工具等場所中。細水霧滅火技術在20世紀90年代才得到飛躍性地發展。20世紀90年代后,我國開始了細水霧滅火技術的研究,并取得了突破性的發展。

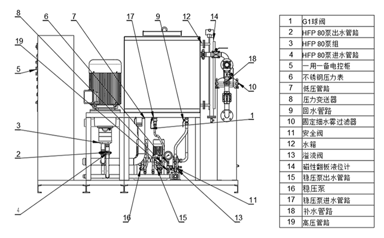
高壓細水霧滅火系統一般由感溫火災探測器、火災報警控制器、火災聲光報警器、高壓主泵、穩定泵、區域閥箱組件、高壓細水霧噴頭等部件組成。
感溫火災探測器:探測火災信號并傳遞信號至報警滅火控制器;
火災報警控制器:火災自動報警系統的心臟,可向探測器供電,是用來接收火災信號并啟動火災報警裝置;
火災聲光報警器:發出響聲,提醒人們該區域有火災發生;

細水霧控制閥:主要用于控制進水閥、水箱、高壓主泵、穩壓泵;
水箱:用以存儲滅火時細水霧所需要用的水源;
高壓主泵:它依靠柱塞在缸體中往復運動,使密封工作容腔的容積發生變化來實現吸油、壓油;
穩壓泵,用于細水霧滅火系統壓力的穩定,使系統水壓始終處于要求壓力狀態。

當發生火災時,火災探測器探測到火災,發出信號至火災報警控制器?;馂膱缶刂破鞔蜷_區域閥。區域閥打開后管道壓力下降,穩壓泵自動啟動運行超過10秒鐘后因為壓力仍達不到1 .4mpa,高壓主泵自動啟動,系統管道內水迅速達到工作壓力,并通過高壓細水霧噴頭噴射而出,產生細水霧撲滅火災。

高壓細水霧適用于撲救A類、B類、C類和電氣類火災,其使用基本不受場所的限制,在陸地、海洋、空間均可應用。
熱門文章/ Popular articles
- 繞西高速監控中心高壓細水霧滅火系統項目圓滿完工![2021/12/03]
- 全地形消防摩托車筑牢鎮遠古城景區“防火墻”[2021/11/18]
- 安徽一檔案館負責人蒞臨四川斯庫爾工廠參觀考察[2021/11/01]
- 精彩回顧 | 四川千頁2021北京消防展圓滿落幕![2021/10/18]
- 松滋市社區舉行微型消防車發放儀式及消防知識培訓班[2021/09/29]
- 中國建筑西南設計研究院領導及專家一行蒞臨四川斯庫爾參觀指導[2021/09/17]
- 熔煉團隊,超越自我——2021四川斯庫爾全員團建活動完美收官![2021/09/03]
- 四川省建筑設計研究院領導一行蒞臨四川斯庫爾考察交流[2021/08/20]
- 細水霧滅火系統守護文物消防安全[2021/08/18]
- 斯庫爾電動高壓細水霧參與大昭寺消防趣味運動會[2021/08/17]
熱銷產品/ hot-sale products
18161221359
客服service
售前售后全程支持

斯庫爾微信二維碼






