細水霧滅火系統控制方式
2020/6/15 12:52:29 次瀏覽
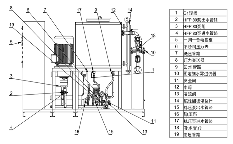
細水霧滅火系統是由點型光電感煙火災探測器和點型感溫火災探測器、火災報警控制器、火災聲光報警器、高壓細水霧、區域閥箱組件、高壓細水霧噴頭等部件組成。

感溫火災探測器:探測火災信號并傳遞信號至報警滅火控制器;
火災報警控制器:火災自動報警系統的心臟,可向探測器供電,是用來接收火災信號并啟動火災報警裝置;
火災聲光報警器:發出響聲,提醒人們該區域有火災發生;
區域閥箱:常閉,滅火時打開,使壓力水流向失火區域。
細水霧滅火系統有自動控制、手動控制、應急啟動控制三種控制方式。

1、自動控制
當發生火災時,火災探測器探測到火災,發出信號至火災報警控制器?;馂膱缶刂破鞔蜷_區域閥。區域閥打開后管道壓力下降,穩壓泵自動啟動運行超過10秒鐘后因為壓力仍達不到12bar,高壓主泵自動啟動,系統管道內水迅速達到工作壓力,并通過高壓細水霧噴頭噴射而出,產生細水霧撲滅火災。

2、手動控制
當人們發現火災時,可在高壓細水霧操作臺上,把開關擰到手動模式,然后點擊按鈕啟動即可按預定程序啟動滅火系統,釋放細水霧,實施滅火。確認火災撲滅后,復位手動報警按鈕和火災報警滅火控制器上的復位按鈕,即可關閉分區控制閥和泵組。使系統恢復到伺服狀態。
細水霧滅火系統具有節水、綠色環保、水漬損失小的特點,可以廣泛的應用在圖書館、古建筑、檔案室、配電室、地鐵等場所中。
熱門文章/ Popular articles
- 繞西高速監控中心高壓細水霧滅火系統項目圓滿完工![2021/12/03]
- 全地形消防摩托車筑牢鎮遠古城景區“防火墻”[2021/11/18]
- 安徽一檔案館負責人蒞臨四川斯庫爾工廠參觀考察[2021/11/01]
- 精彩回顧 | 四川千頁2021北京消防展圓滿落幕![2021/10/18]
- 松滋市社區舉行微型消防車發放儀式及消防知識培訓班[2021/09/29]
- 中國建筑西南設計研究院領導及專家一行蒞臨四川斯庫爾參觀指導[2021/09/17]
- 熔煉團隊,超越自我——2021四川斯庫爾全員團建活動完美收官![2021/09/03]
- 四川省建筑設計研究院領導一行蒞臨四川斯庫爾考察交流[2021/08/20]
- 細水霧滅火系統守護文物消防安全[2021/08/18]
- 斯庫爾電動高壓細水霧參與大昭寺消防趣味運動會[2021/08/17]
熱銷產品/ hot-sale products
18161221359
客服service
售前售后全程支持

斯庫爾微信二維碼






