高壓細水霧滅火機啟動方式
2020/5/22 11:29:17 次瀏覽
細水霧早在20世紀初期就開始運用了,只是應用不廣泛,如今隨著人們對環保的重視,高壓細水霧開始廣泛運用起來,它具有降溫、加濕、防塵、消防、造景等功能;它還可以熄滅A類、B類、C類以及電器火災,可以廣泛的應用在地鐵、圖書館、檔案室、變電站等場所中。

細水霧介紹:
高壓細水霧滅火系統,是以水作為滅火介質,采用細水霧噴頭在特定的壓力工作下(通常噴頭壓力為10MPa)將水流分解成細小水滴進行滅火的一種固定式滅火系統。
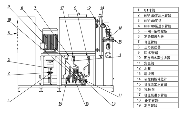
細水霧組成:
由高壓主泵、備用泵、穩壓泵、電磁閥、過濾器、泵控制柜、水箱組件、供水管網、區域閥箱組件、高壓細水霧噴頭及火災報警控制系統及補水泵等部件組成。

啟動方式:
步驟一、打開高壓細水霧的門,然后啟動總電源;
步驟二、等待操作臺上系統正常開機的屏顯;
步驟三、在高壓細水霧操作臺上,有手動模式和自動模式,我們把開關擰到手動模式,然后點擊綠色按鈕啟動;
步驟四、看操作臺頂部的儀表,電機正常運轉,噴頭就開始噴霧了;
步驟五、當火都滅掉后,點擊紅色按鈕停止,關閉手動,然后關閉總電源。

細水霧特點:
1、水霧以水為滅火劑,綠色環保,使用時不會對人體有傷害;
2、細水霧用水量少,產生的水漬少,不會對火災現場造成二次傷害,可以減少火災帶來的損失;
3、細水霧具有屏蔽熱輻射、凈化煙霧和廢氣的作用,有利于被困人員的疏散和消防工作的開展;
4、細水霧滅火類型多樣,可以使用在較為復雜且火勢難以控制的地方;
5、細水霧滅火系統安裝簡便、維護方便。
熱門文章/ Popular articles
- 繞西高速監控中心高壓細水霧滅火系統項目圓滿完工![2021/12/03]
- 全地形消防摩托車筑牢鎮遠古城景區“防火墻”[2021/11/18]
- 安徽一檔案館負責人蒞臨四川斯庫爾工廠參觀考察[2021/11/01]
- 精彩回顧 | 四川千頁2021北京消防展圓滿落幕![2021/10/18]
- 松滋市社區舉行微型消防車發放儀式及消防知識培訓班[2021/09/29]
- 中國建筑西南設計研究院領導及專家一行蒞臨四川斯庫爾參觀指導[2021/09/17]
- 熔煉團隊,超越自我——2021四川斯庫爾全員團建活動完美收官![2021/09/03]
- 四川省建筑設計研究院領導一行蒞臨四川斯庫爾考察交流[2021/08/20]
- 細水霧滅火系統守護文物消防安全[2021/08/18]
- 斯庫爾電動高壓細水霧參與大昭寺消防趣味運動會[2021/08/17]
熱銷產品/ hot-sale products
18161221359
客服service
售前售后全程支持

斯庫爾微信二維碼






